![]() |
Зверніть увагу! |

![]() |
Механічна обробка КОЛІНЧАСТОГО ВАЛУ |
Теорія, обмір, Т.У.
Колінчастий вал — це деталь кривошипно-шатунного механізму, яка призначена для перетворення зворотно-поступальних рухів поршня в обертальний рух вала..
Колінчастий вал складається з:
- корінна шийка(опора валу в корінному підшипнику);
- шатунова шийка(опора валу для нижньої шийки шатуна);
- щоки(переходи між корінними і шатуновими шийками);
- передня вихідна частина валу(частина валу на якій кріпиться зубчасте колесо зв'язку з приводом розподілвалу, шків відбору потужності на генератор, різне навісне устаткування);
- задня вихідна частина валу(місце з'єднання з крутнем і інше);
- противаги(частини колінчастого валу, які здійснюють розвантаження корінних підшипників від відцентрових сил інерції, - елемент балансування валу).
Обмір колінчастого валу виконується в два етапи:
Етап 1: перевірка колінчастого валу на вигин осі корінних шийок : Колінчастий вал укладається на призми. За допомогою стрілочного індикатора, встановленого на стойці, перевіряємо вигин осі колінчастого валу, як правило спершу по центральній шийці, обертаючи колінчастий вал. Вигин не повинен перевищувати:
- для легкових моторів 0,005 мм.
- для вантажних моторів 0,01 мм.(чи дивися мануал на ДВС)
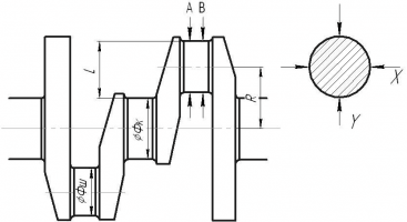
Етап 2: мікрометром вимірюють, по черзі, діаметри корінних і шатунових шийок, як показано на малюнку нижче, а радіуси галтелів корінних(Rк) і шатунових(Rш) шийок вимірюють шаблоном-радиусомером, а також вимірювальним інструментом(рейсмас або ШЦ- 150) визначається радіус кривошипа(R), дивися наступний малюнок. Радіус кривошипа можна розрахувати по формулі: R={(Фш-Фк): 2} L; де:
R - радіус кривошипа;
Фш - діаметр шатунової шийки;
Фк - діаметр корінної шийки;
L - відстань від поверхні корінної шийки до поверхні шатунової шийки;

Вимір корінних і шатунових шийок А, В - місця виміру діаметру по осях Х і Y. (Вимір корінних шийок умовно не показаний)
Після візуального огляду і виміру основних геометричних параметрів колінчастого валу проводять операцію "магнітна дефектоскопія" або дефектоскопія кольоровими пенетрантами, з метою виявлення мікротріщин, сколовши.
"Магнітна дефектоскопія" виконується на магнітоскопі CD15. Дефектоскопія кольоровими пенетрантами з використанням червоного пенетранта, очисника-змиву і проявника. Перед магнітною дефектоскопією необхідно очистити від бруду і інших відкладень, а також знежирити поверхні колінчастого валу. Провести попередню механічну обробку, наприклад шліфувати, як чисто, залишки підшипників ковзання, що "приварилися", з опор колінчастого валу, що б отримати чисту поверхню шийки.
При використанні пенетрантов потрібне(за наявності частин вкладишів їх, що приварилися, потрібне сошлифовать) :
- очистити поверхню за допомогою очисника;
- нанести пенетрант і почекати декілька хвилин для того, щоб пенетрант міг заповнити поверхневі дефекти;
- змити пенетрант з поверхні колінчастого валу за допомогою очисника;
- нанести проявник.
На поверхні забарвленої проявником барвником, що візуально проник, вималюється дефект.
Шорсткість поверхні шийок колінчастого валу має бути не нижча Ra 0,2 мкм(по старій класифікації не нижче 9 класу). Те ж саме торкається опорної поверхні підшипника осьового розгону.
Рихтування колінчастого валу
Колінчасті вали рихтують вимушено, по "бідності". Чавунні колінчасті вали взагалі - не рихтують! Сталеві колінчасті вали рихтують з обережністю з подальшою перевіркою на тріщини по шийках і по галтелях.
Правильний ремонт - це перехід в наступний ремонтний розмір без рихтування!
Існує декілька видів рихтування, а саме, докладання зусилля, перпендикулярно осі, розтягуючи або стискаючи деформовані ділянки колінчастого валу.
Рихтують колінчасті вали витримавши радіальне биття відносно корінних шийок, шийок переднього і заднього сальника, шийки під привід ГРМ і відносно місця під крутень - в межах 0,08-0,1 мм. Усунення кривизни осі колінчастого валу виконується за допомогою гідравлічного пресу верстата AZ СР 150. Але слід пам'ятати, що виправлені в холодному виді колінчасті вали мають властивості в процесі своєї роботи знову згинатися, і тому перед рихтуванням колінчастий вал необхідно нагрівати до температури 100...125 ºЗ(при такій температурі молекули заліза і вуглецю не міняють своєї структури). При правці осі колінчастого валу виконують перегин, убік, протилежну до вигину, а потім повертають вісь в допуск по радіальному биттю до 0,1 мм. Колінчасті вали рихтують, коли розміри шийок в наслідку прогину виходять за межі ремонтних розмірів колінчастого валу, і вали не навантажені, тобто ДВС без турбонаддува.
Після рихтувальної операції колінчастий вал також необхідно досліджувати на наявність мікротріщин в районі виходу масляних каналів, на галтелях, на поверхнях шийок які могли утворитися в процесі рихтування. Для цього застосовують магнітоскоп або технологію із застосуванням кольорових пенетрантов.
Шліфування колінчастих валів
Знос шатунових шийок по колу не рівномірний. Тіло шейку зношується більше з боку, зверненою до осі колінчастого валу.
На шатунову шийку діє сила, що виникає в результаті тиску газів і передавана через шатун на шийку, а також відцентрова сила інерції від маси шатуна - поршня, віднесеною до частин, що обертаються. В результаті дії цих сил шейку навантажується і зношується більше з боку, зверненою до осі обертання колінчастого валу.
Зношені шийки виправляють операцією "шліфування шатунових і корінних шийок" на спеціальних кругло-шліфувальних верстатах марки "AMC SCHOU" К- 1500(Lвала= 1500мм), К- 1200(Lвала= 1200мм) і CG 360-3300(Lвала= 3300мм) оснащених спеціально для шліфовки шатунових шийок - центросместителями для урівноваження колінчастого валу. Для зменшення порушення паралельності осей корінних і шатунових шийок, колінчасті вали шліфують, починаючи з шатунових шийок, при цьому строго витримується(не міняється при переході на наступну групу шатунових шийок) радіус кривошипа.
Шліфування шатунових шийок відрізняється від шліфування корінних тим, що число оборотів валу підбирають залежно від його довжини і ваги. Це викликано тим, що при обертанні колінчастий вал, зміщений від осі обертання на відстань, рівну радіусу кривошипа, прогинається убік, протилежну до осі обертання. На верстатах "AMC SCHOU" К1500 і К1200 при установці перед шліфовкою шатунових шийок, колінчастий вал урівноважується противагами верстата і контролюється манометром гідравлічного приводу передньої бабки верстата.На верстаті фірми AZ моделі CG360 - 3300 контроль здійснюється електричним приладом. Зусилля підтиску задньої бабки регулюється гідравлікою і контролюється стойкою з індикатором, що зводить до мінімуму величину прогину колінчастого валу від притиску задньою бабкою. Довгі вали шліфуються обов'язково із застосуванням люнетів

Вигин колінчастого валу при шліфовці шатунових шийок. 1 - вісь центрів верстата; 2 - вузол зміщення центрів на вісь шатунових шийок; 3 - колінчастий вал.
При шліфуванні колінчастих валів необхідно виконати такі Технічні Вимоги.
При вигині осі колінчастого валу від 0,08 до 0,40 мм шийки шліфують в наступні ремонтні розміри 0,25 мм; 0,50 мм; 0,75 мм; 1,0 мм; (За наявності ремонтних розмірів. Інакше міняється колінчастий вал на новий).
Після шліфовки шийок колінчастого валу, колінчастий вал діагностується на величину дисбалансу. При виявленні перевищення норм дисбалансу проводиться операція "Балансування колінчастого валу" на спеціальному устаткуванні.
Балансування колінчастих валів
Після механічної обробки колінчастий вал може змінити встановлені допуски балансування, і тому наступною обов'язковою операцією є балансування.
Необхідно спочатку провести балансування самого колінчастого валу. Після чого, встановлюючи деталі на вал по черзі, шків крутень, кошик зчеплення, провести їх балансування у зборі на колінчастому валу.
Крутні і муфти з проведеним балансуванням окремо, на заводах-виготівниках, вимагають балансування на колінчастому валу тільки у разі, якщо при шліфуванні корінних шийок була зміщена їх вісь обертання.
Балансування може бути використане тоді, коли потрібно заміну, наприклад, крутня, балансированного на заводі виготівнику у зборі з колінчастим валом, а також у випадках, коли із-за некваліфікованого розбирання не представляється можливим знайти правильне взаємне положення знятого крутня і валу, що раніше вже відбалансували у зборі.
Найбільшою складністю є динамічне балансування колінчастих валів V- образних двигунів, а також рядних двух-, трьох- і пяти- циліндрових ДВС. Вали цих двигунів не мають середньої площини симетрії, а у деяких з них(наприклад у двоциліндрових) центр мас взагалі не лежить на осі обертання. Такі вали динамічно балансируются тільки із спеціальними компенсаційними вантажами на шатунових шийках, що імітують приведену масу(у процентному вираженні) нижніх голівок шатунів і величину маси поршня з пальцем.
Балансування проводиться на спеціальному верстаті НС- 500 з точністю до 1 г·см Колінчастий вал встановлюється на призми, незалежні один від одного, які з'єднуються тягою з електронним блоком. За допомогою електродвигуна, встановлений в призми, колінчастий вал розкручується до певних оборотів, динаміка обертання прочитується і аналізується компютером.
Компютер, в який заноситься діаметр свердла і його кут заточування, аналізує дані і здійснює контроль за кількістю знімання металу. При балансуванні колінчастих валів спеціально подготовленых для змагань, компютер покаже і місце де потрібно наростить вагу ділянки валу.
Балансування - це невід'ємна умова механічної обробки колінчастих валів. Завдяки якісно виконаному балансуванню покращуються технико-технические характеристики ДВС:
- потужність двигуна підвищується на 10-15;
- двигун стійко працює на усіх режимах і неодруженому ходу;
- знижується витрата палива на 5-10;
- пропадає вібрація.